Pembuatan bill of material atau daftar order barang dapat di buat dengan cara pembuatan baru atau memodifikasi bill of material yang sudah ada. Pada multilevel bill of material penulisan setiap level ditandai dengan format penulisan part number sesuai dengan tabel 4.
Setting Bill Of Material Bom Pada Software Restoran
Contoh bill of material. Saap ifs aplikasi berbasis web base dan lain lain. Data data valid yang akan di gunakan sebagai referensi dalam pembentukan bill of material. Academiaedu is a platform for academics to share research papers. Modul pada contoh bill of material direct material bahan langsung. Setiap perusahaan pastinya memiliki sistem yang berbeda satu sama lain itu disebabkan kebutuhan yang berbeda sesuai kategori perusahaan masing masing. Bom dibuat sebagai bagian dari proses desain dan digunakan.
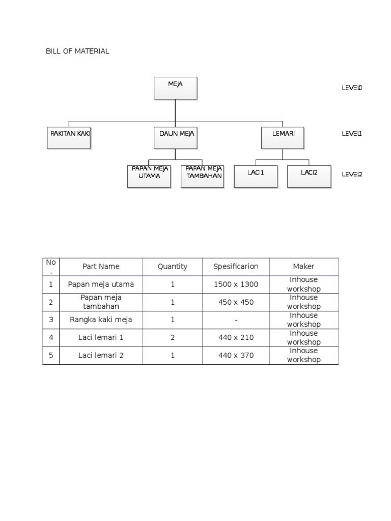
Menentukan tipe atau jenis bill of material yang sesuai dengan produk yang akan di buat. Saap ifs aplikasi berbasis web base dan lain lain. Bill of material atau sering disingkat bom merupakan gambaran atau definisi produk terakhir yang terdiri dari item bahan atau material yang dibutuhkan untuk merakit mencampur atau memproduksi produk akhir. Contoh multilevel tree dicantumkan pada gambar 4 contoh multilevel bill of material dicantumkan pada tabel 4. Bom terdiri dari beberapa bentuk dan dapat digunakan untuk berbagai keperluan dalam proses industri manufaktur atau lainnya. Data data valid yang akan di gunakan sebagai referensi dalam pembentukan bill of material.
Diirect labour tenaga kerja langsung atau touch labour tenaga kerja manual. Bill of materials definisi fungsi tujuan penggunaan perbedaan jenis bom contoh bom dibuat oleh. Tugas kelompok manajemen industri bill of material 1. Modul ini sebagai penentu biaya tenaga kerja yang bisa ditelusuri melalui produk yang sudah jadi seperti biaya tukang dalam membangun rumah. Dalam pembuatan bill of material atau daftar order barang. Pada multilevel bill of material penulisan setiap level ditandai dengan format penulisan part number sesuai dengan tabel 4.
Pahami dan kuasai sistem atau aplikasi yang di gunakan untuk pembuatan bill of material contoh aplikasi. Contoh multilevel tree dicantumkan pada gambar 4 contoh multilevel bill of material dicantumkan pada tabel 4. Bahan ini harus terdapat pada produk dan dapat ditelusuri secara fisik seperti atap dalam pembangunan rumah. Andy samuel pakpahan 122100018 vicky f fakhrurrazi 122100154specialised industrial services blinds to blinds. Menentukan jenis bill of material yang sesuai dengan produk yang akan di buat. Pahami dan kuasai sistem atau aplikasi yang di gunakan untuk pembuatan bill of material contoh aplikasi.















